So we had a lot of excitement, but I never knew my name appeared on the patent as, "inventor: James Yih".

After we graduate with a masters degree from MIT, come to interview at Fairchild and drove across the country, I remember, I graduated in February and it was you know snowing in Boston, so I talk to Yolanda to join me to go down to Florida to go have a look at Florida. Drove all the way down to Florida, and at that time when you were young, you got quite a few speeding tickets along the way, in different states, but we went to Florida, and we drove all the way down to Key West. You know go across the ocean, all the way to Key West. It was fun, so we did that and then on the way back, I dropped her off at the airport to fly back to Boston, and I start to drive West on the southern coast. You know mostly hugged the coastline, all the way back, and when I was going across the country, when I reached Arizona, I called that #1 guy at the University of London. The #1 guy, we were in the same class at MIT.

I called him, and he said that I already interviewed at Fairchild also. You get an apartment, and we can join together. He and I joined Fairchild on the same date. So I had 1726 and his number was 1727. We both signed in on the same morning. So that's how we started at Fairchild. I left Fairchild after 15 months to follow the R&D director to Sperry. He stayed in Fairchild for a longer time, so we didn't contact for a while, then I found out he was going to marry my sister, so we became relatives. What's funny is that I picked him to be a friend to you know verify when I was applying for United States citizenship, but relatives cannot be the one, so he cannot be, so I was ready to be interviewed, but he cannot be the guy. Finally, Yolanda have a good friend, married to some US Air Force captain, Chinese, but he was in the military, and he became the one to day that I am okay, so I got a US, passed the test because the record was alright then. Especially, he was an Air Force Captain or something. Yolanda's very good friend, Eugenia's husband, so it was a lot of hassle because I need to find somebody to replace that guy who became relative. I didn't know that many US citizens.

I joined Microma after Intercil because I was, I didn't, I was at Intercil actually not that late because I want to make the 3 years thing. Everybody left after 2 years, but I want to make the 3rd year because I was only 1 or 2 months away, so I said I want to wait until I get my 3rd year stock options, so I did. So I was the very last one to leave, so when I get to, when I was at Intercil, I met, well I got nothing to do because they know I wasn't going to be there for long. I don't really have any active projects and all this. There was a chemist, East European, a friend of Herni, the one who formed Amalco. Anyway, he has a friend from Checkslovakia, a chemist, was doing liquid crystal display, so they just let him work in the lab, but he periodically make some chemicals that make some bad smell. Everybody don't know what he is doing, and don't really like him, and I've got nothing to do. I'm just curious to see what he's doing. Liquid crystal, but he doesn't know how to make the package to kept his liquid crystals.

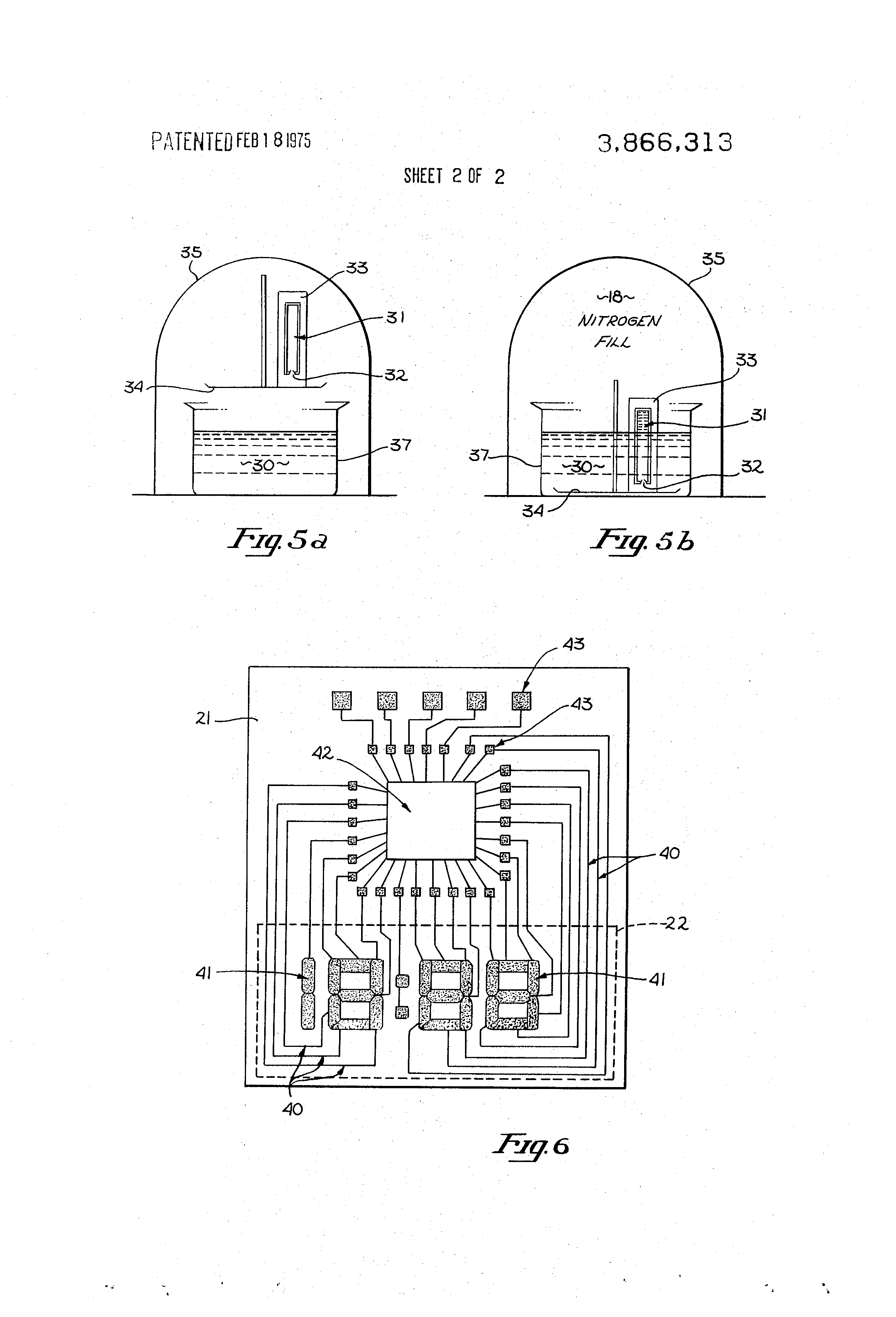
I said, hey I can help. I was in charge of masking in Intercil, well I was in charge of the whole semiconductor operation, so I have the group under control. I said, "hey I can make some simple packages for you, and you can use it for testing." So he was very happy, he said, "we got some glass, one side with conductive coating." We bought these from Corning, they have it made already, so I etched some simple patterns and I glued the two pieces together with epoxy, and he can, you know, tell him how to put some chemicals in between, and he used it for testing. And he was very happy, so we made a package to find out what thickness it should be to for his test, so I bought some gasket, which was mylar has a half ml thick, quarter ml thick, you know kind of a way we can use with glue on each side to be used as a spacer to space the package gap thickness, so we used it for his test. And it did pretty good, and then I start to etch the 3.5 digit pattern on both slides with correct electro leads coming out the side so that we can control the 1-8-8-8 to be shown to be used as a watch display. And that was the package we finally used.

We made a lot of it to do the light test, so we hang the thing on the wall, turning it on an off for many cycles to see how long it will last. And that's the stuff that Gordon came to see. He was fascinated with the liquid crystal, spend about 2-3 hours with us, and our landlords, they're all semiconductor people. They all know Gordon's old Porsche car. He drove a classic old Porsche, so everybody knew he was, knew about his car. He was in the competitor's office, and that company was out landlord. That company's president said, "Hey how can you let Gordon come into our building." Because he was a competitor, but Intel was sooo much better than that little company's product, absolutely no comparison. Gordon not come to steal your thing at all, but anyway, he doesn't like the idea of having Gordon spend time with us, but the news went out that Gordon spend a lot of time with us. But Gordon was interested, and he wants to buy. That was in May, and Gordon at that time, Intel happened to be making the first P Channel 1K memory successful, and they were suddenly start to have a lot of profit come out. And Gordon decided that he didn't want to have the turnaround that sharp, but wanted to absorb our entire losses for that quarter. Forced the accountants and lawyers to work 24 hours everybody weekends to have the job done so that we can close the deal in about a week and a half, so they all worked like mad, and finally, they did get it done, so they gave us just under $2 million worth of Intel stock and bought Microma, which is like 4.7 times our original investment, but we weren't allowed to sell.

Quite a few engineers didn't have the money to buy. I always remember that Phalen, actually borrowed money from Noyes, to buy, with the agreement that as soon as he can sell, he will cover the expense, so he did that. But for me, father had some money to come in. My father, and I had all of our savings from my and grandma's joint saving account. We had about $40,000, savings of the previous year's work. At that time, I remember, I used to say that I live on grandma's salary and my salary goes in for investment, but the entire amount is about $40,000. Every single into Microma. Eh, at that time, we say, "hey, if we win, we win big, if we lose, we go back to work as a lousy engineer again." There's no downside, I can always find an engineering job at that time, so that's what we did.

But at that time, we said, "hey, 4 times our investment is not enough to be independent of salary." We said we need to get up to about $1 million. At that time, I think I was worth about a quarter $1 million, but Intel did go up in the end, so finally, we become independent of salary. I joined in and go through a lawsuit and all this, less than a year, less than 1 year.

They want to buy us right away. The only thing we showed is that we had a tube that looks like the possibility of a watch. We had 2 functional displays with battery and Robson at that time, there were no integrated circuits available, so he put lots of small components together. At Fairchild, Robson was in charge of a hybrid circuit, so he knew how to get things small, so some of the packages, he grinds down the leads. He does a lot of creative engineering to put the packages together. We made two watches as big as a big, old fashion match box, put the display light made. And at that time, the package, thedisplay was not very good, it drained current very quickly, so we made it with a pin, to push in to make contact and then the watch will work. So we had watches made that way. He went to go show to Wall Street. When he goes up the elevator, he start to turn on the watch and then make it run. After his presentation, as soon as he gets out, he unplugs the watch so that he can save the battery. And that's the thing that Gordon saw, and they decide to buy that facility. We had about 35 people at that time. We couldn't afford it!

At that time, I also remember, we put in around 300K all together. I put in 40 some K, Robson put in also 40 some K. We all put in 40 some K. 4 of us: Phalen Robson, me, and Rogers, a marketing guy. Then we had 3 other investors that I think Robson found these. They all cam with 50 some K each. But we spent all the money and the thing was not ready, and these 3 guys came to Robson's office everyday to bug him, you know, "how was it? How long will it take?" All that, so Robson told me to try to get my dad to buy them out. So I told father, I said, "hey, you wanna do it?" Father, at that time, was much more wealthy than we were, so he said, hey that's not big money, so he bought them out. That was 6 weeks before Intel bought us out, so he went back with a certificate bigger than Robson, mine, Rogers, anyone because these 3 guys put together was more than 40 some K. I think it was over 50K, so he got one certificate, went back with more than all of us, so he was very happy.

But he never saw the huge increase Intel had. He died at 1989. From 1990-2000, Intel stock went up 40 times, so we suddenly become wealthy. But before all that, Intel almost folded because they were making the memory, you know at the beginning it was 1K, then 4K, then 32K and all that, but P Channel semiconductor, and they couldn't, they found that the Japanese memory chips were cheaper, better in every way, so they really couldn't make it. Then there was an engineer in Intel, he was the one who did the microprocessor, and they decided to go into microprocessors and drop the memory, but their sales mostly from memory, which was dying, so if microprocessors don't work, Intel would also be closed down. They couldn't do it in memory, and if they don't make it in microprocessors, then they would be dead. And it happened to be that IBM decided that they don't want to be bothered with the PC. It's a small personal computer. They want to be in the mid-range you know like working with the bank. Super computer. They want to deal with big computers not the small ones. So they sub-contract the microprocessors to Intel. They sub-contract the software program to Microsoft, so that's how Intel and Microsoft get up in the personal computer and got, in the end got bigger than IBM. Much bigger than IBM. It's crazy. You can't believe these management decisions, all the foresight of not seeing what could happen. They just thought those little things, they don't want to be bothered with, IBM.

So that's how Intel, I also remember for a period, Intel was making maybe, I was doing the chips, semiconductor chips, and we got, I was at Intercil, an offer from Seiko to develop C-MOS. They call it complementary MOS. That means you put N Channel and P Channel, Intel at that time don't know how to make N Channel at all. Only make P Channel. Everybody only make P Channel, so they want Intercil to develop what you can make a C-MOS, that means you can drastically lower the current usage make it low power. So I was the one in charge of doing the development of doing the C-MOS, so I made it. I was the one who put P Channel and N Channel on a single chip. That means that the process is . a lot more complicated, longer, but we did it although the gate voltage is not very P Channel is high, N Channel is low, ideally, you want the same voltage to drive the gate, but we proved the feasibility of, possibility of making N Channel, P Channel on the same chip.

Wrote the report, showed it to Seiko. Seiko was happy, paid us for what we worked. They put it in the drawer. They don't want to use it. They don't want anybody else to use it, so Intercil got paid by Seiko, happy. And I was gonna leave to join Microma, then a lawsuit and all that started. So we had a lot of excitement, but I never knew my name appeared on the, inventor: James Yih. I can't believe there's a [patent], issued to, well because of my work. So I did all of that. I did do all of that.